LG24 Ceiling Grid

Regular price POA

LG24 Ceiling Grid – Exposed 24mm Suspended Ceiling Grid System

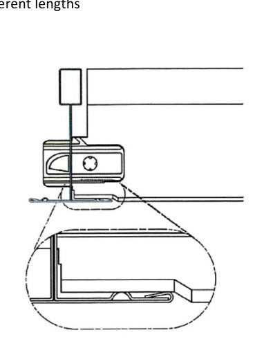
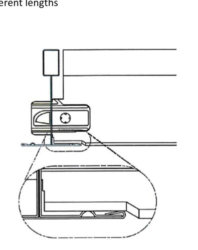
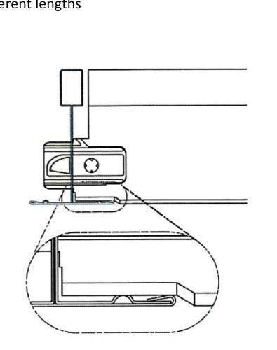
LG24 Ceiling Grid is a reliable 24mm exposed suspended ceiling grid system designed to provide a clean, professional framework for lay-in ceiling tiles. Featuring a click system with long joggled end detail, it is suitable for suspended ceiling applications where strength, neat alignment, and easy installation are important. The system is finished in RAL 9016 Global White, helping create a bright and tidy ceiling finish across a wide range of interior projects.

Manufactured in accordance with EN 13964, LG24 offers dependable performance for suspended ceiling installations and is classified with corrosion resistance to EN 13964 Class B. The technical sheet also confirms reaction to fire certification and notes that profiles with different lengths are available on request.

The LG24 grid system includes the main components required to form a suspended ceiling framework: 3700mm main runners, 1200mm cross tees, 600mm cross tees, and 3000mm perimeter trim. The system is designed for ceiling layouts using both 600 x 600mm and 1200 x 600mm modules, making it suitable for a broad range of suspended ceiling tile specifications.

The technical data also includes maximum permissible payload guidance based on suspension distance and module layout. The published figures are based on uniformly distributed loads only, with no point loads allowed, and the document specifically notes that concentrated loads or additional weights such as lights, smoke detectors, air ducts, and suspended signs are not allowed unless separately supported.

Key Features

  • Exposed 24mm ceiling grid

  • Click system with long joggled end detail

  • RAL 9016 Global White finish

  • Manufactured to EN 13964

  • Corrosion resistance: EN 13964 Class B

  • Reaction to fire certification

  • Suitable for 600x600 and 1200x600 ceiling modules

  • Main runners, cross tees, and perimeter trim available

  • Different profile lengths available on request

Product Specifications

  • Product: TVS LG24 Ceiling Grid

  • System type: Exposed 24mm ceiling grid

  • Main Runner: 3700mm, 20 pieces per carton, 25kg per carton

  • 1200 Cross Tee: 1200mm, 60 pieces per carton, 16kg per carton

  • 600 Cross Tee: 600mm, 60 pieces per carton, 7kg per carton

  • Perimeter Trim: 3000mm, 25 pieces per carton, 6.5kg per carton

  • Colour: RAL 9016 Global White

  • Standard: EN 13964

  • Corrosion resistance: Class B